
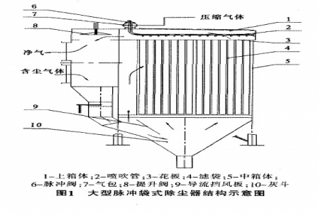
工作時,含塵氣體由除塵器進氣總管通過進氣支管的風量調節閥,均勻地分布到各單元濾袋室,由于氣流斷面的實然擴大或導流板的作用,氣流中一部分大顆粒粉塵因慣性而落入灰斗,顆粒小的粉塵通過篩分,慣性,粘附,擴散和靜電等作用被作用被阻留在濾袋外側,凈化信任感的氣體則進入袋內,匯集到凈氣室,經排氣管排出。
隨著過濾的不斷進行,由于粘附,截留等作用,塵粒在濾袋表面逐漸形成粉塵層。
隨著濾袋表面粉塵的不斷增加,其濾袋阻力上升,當濾袋室的壓差達到設定值或運行到設定時間時,控制儀發出信號,提升閥關閉該單元濾袋室的排氣口,使該室處于離線狀態。
這時壓縮空氣由氣包通過脈沖閥從噴吹管上噴嘴射入該單元濾袋室的濾袋內,進行分組噴吹。噴吹結束后,提升閥打開,濾袋恢復過濾狀態,同樣,其余各單元濾袋室由程序控制器控制依次進行上述噴吹循環,以實現清灰目的。
*后,由濾袋膨脹和反向加速度作用而脫落于灰斗的粉塵經輸灰裝置送走。
新公網安備 65010902000743號